mejim707
Active Member
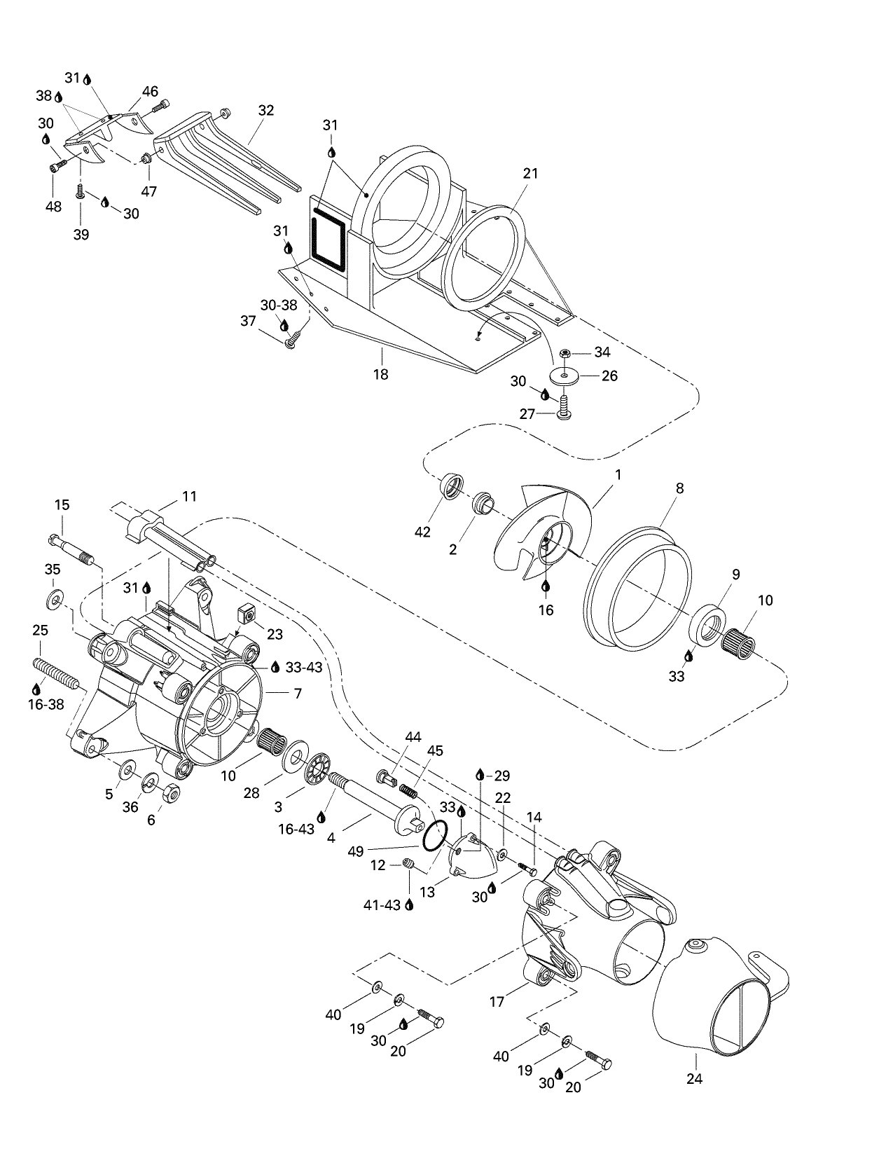
I have a 96 Challenger. While looking into greasing my carrier bearing, and hearing a "clink", I looked under the boat and noticed the drive shaft boot was missing. Wonderful... So, I think I'm going to need to pull the pump to replace it.
If the boat is only used in fresh water, how long can I ride it without this boot? I'm not sure how long this was missing for the previous owner either.
If I do need to replace it, it seems I need to remove the entire pump. But, the previous owner, or the drunk mechanic who was working on this thing, used a ton of this black sealant to seal the pump to the hull. I have not attempted to remove the pump yet but I can only imagine this will be a nightmare with now much of this crap is on there.
Is there a good trick on how to remove the pump and break free this sealant without damaging things and without taking ages to get it done? If I end up removing it I'll be replacing the wear ring, boot and possibly the impeller itself. Please take a look at this photo and let me know your thoughts.
Thanks a lot in advance!
If the boat is only used in fresh water, how long can I ride it without this boot? I'm not sure how long this was missing for the previous owner either.
If I do need to replace it, it seems I need to remove the entire pump. But, the previous owner, or the drunk mechanic who was working on this thing, used a ton of this black sealant to seal the pump to the hull. I have not attempted to remove the pump yet but I can only imagine this will be a nightmare with now much of this crap is on there.
Is there a good trick on how to remove the pump and break free this sealant without damaging things and without taking ages to get it done? If I end up removing it I'll be replacing the wear ring, boot and possibly the impeller itself. Please take a look at this photo and let me know your thoughts.
Thanks a lot in advance!

Last edited:




